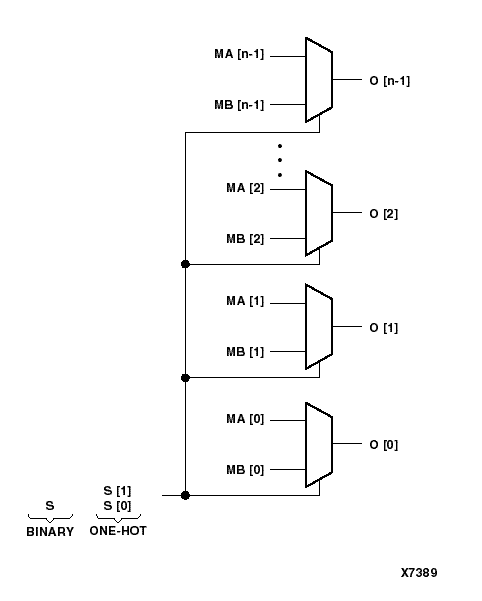
Figure 4.25 The Type 2, 2-input Multiplexer Logic Diagram