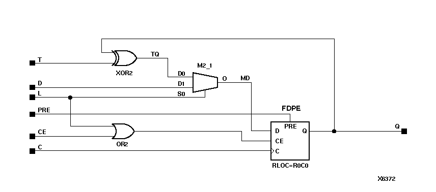
Figure 5.63 FTPLE Implementation XC4000E, XC4000X, XC5200, Spartan, SpartanXL, Spartan2, Virtex