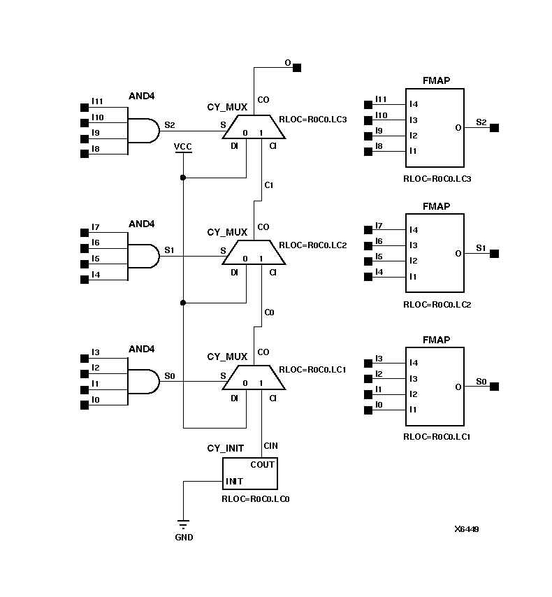
Figure 7.31 NAND12 Implementation XC5200