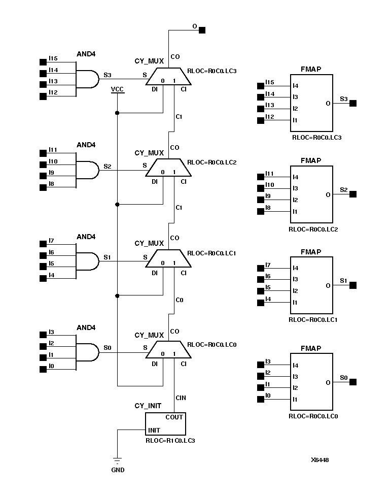
Figure 7.33 NAND16 Implementation XC5200