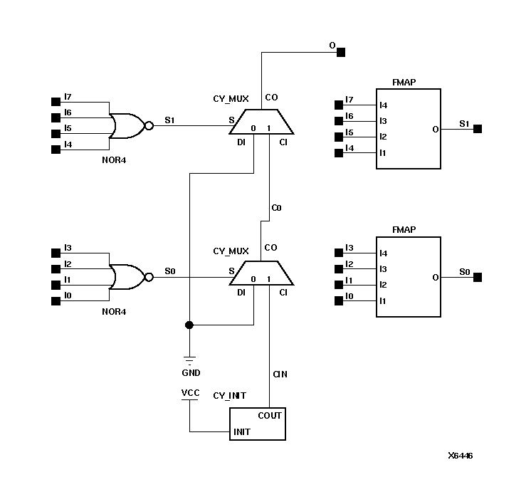
Figure 7.39 NOR8 Implementation XC5200