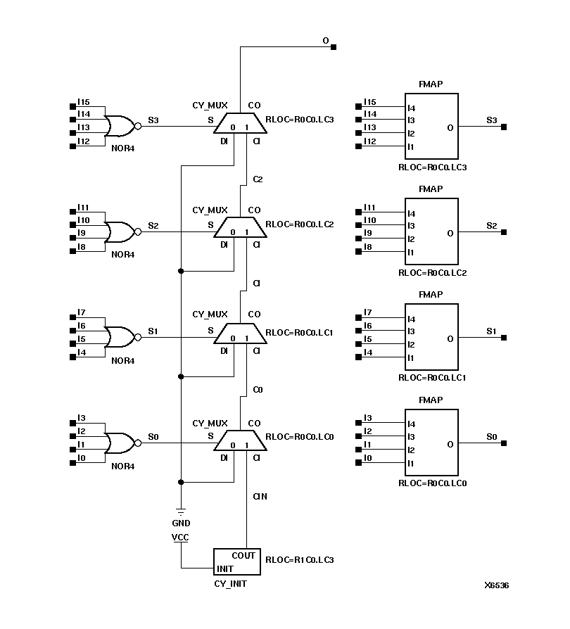
Figure 7.41 NOR16 Implementation XC5200