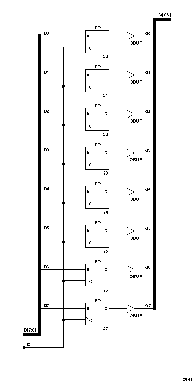
Figure 8.9 OFD8 Implementation XC9000