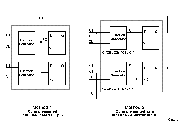
Clock Enable Implementation Methods

Figure 1.3 Clock Enable Implementation Methods