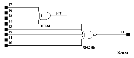
Figure 10.20 XNOR8 Implementation XC3000