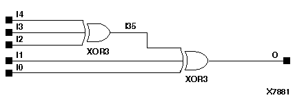
Figure 10.29 XOR5 Implementation XC5200