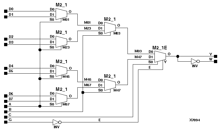
Figure 11.9 X74_151 Implementation XC3000, XC4000E, XC4000X, XC5200, XC9000, Spartan, SpartanXL