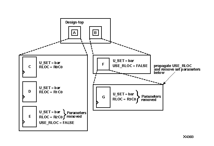
Using the USE_RLOC Constraint to Control RLOC Application on U_SET Sets

Figure 12.13 Using the USE_RLOC Constraint to Control RLOC Application on U_SET Sets