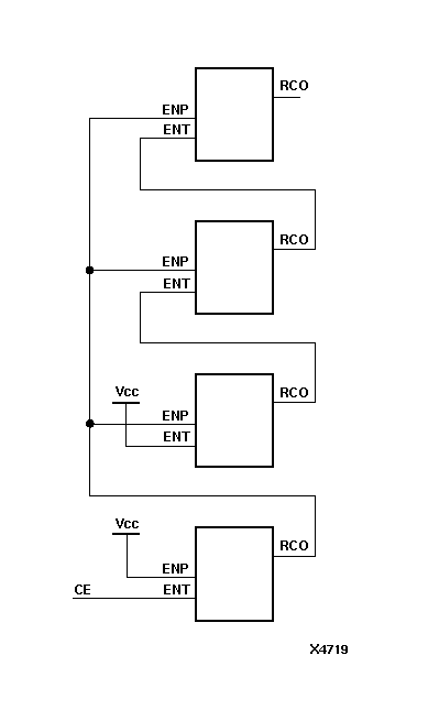
Figure 2.3 Carry-Lookahead Design