|
|
|
| XC3000 | XC4000E | XC4000X | XC5200 | XC9000 | Spartan | SpartanXL | Spartan2 | Virtex |
|---|---|---|---|---|---|---|---|---|
| Macro | Macro | Macro | Macro | N/A | Macro | Macro | Macro | Macro |

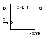
OFD_1 is located in an input/output block (IOB) except for XC5200. The output (Q) of the D flip-flop is connected to an OPAD or an IOPAD. The data on the D input is loaded into the flip-flop during the High-to-Low clock (C) transition and appears on the Q output.
The flip-flop is asynchronously cleared, output Low, when power is applied. FPGAs simulate power-on when global reset (GR) or global set/reset (GSR) is active. GR for XC3000 is active-Low. GR for XC5200 and GSR (XC4000, Spartans, Virtex) default to active-High but can be inverted by adding an inverter in front of the GR/GSR input of the STARTUP, STARTUP_SPARTAN2, or STARTUP_VIRTEX symbol.
| Inputs | Outputs | |
|---|---|---|
| D | C | Q |
| D | d | |
| d = state of referenced input one setup time prior to active clock transition | ||